2021香港e特快最新時效!到全國各地時效2-5
2021香港e特快最新時效!到全國各地時效很快
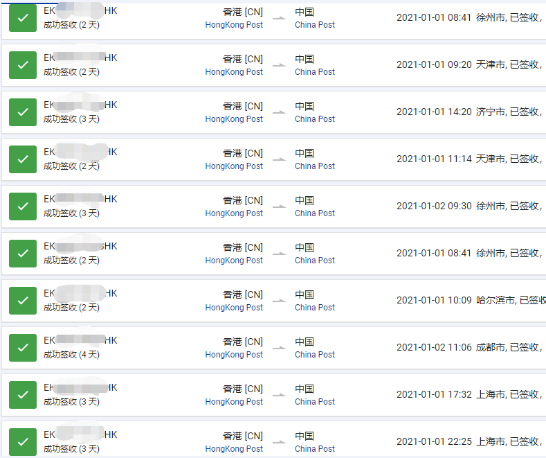
香港e特快最近清關一直很順暢,時效也非常快,下面把到全國各地的時效給大家看看。

兩天的時效是不是都超乎想象了,確實有這么快,海關清關也比較給力,派送速度也快,所以幾乎和國內快遞都差不多了,時效和到廣東省內一樣了,這個速度還是非常滿意的!
當然也不可能到全國都這個時效,還是有一些相對會慢一些,畢竟有些城市需要多次中轉。
香港直郵內地,香港e特快時效幾乎秒殺其他所有渠道,清關更順,時效更有保障!并且全國統一價,全國各地都可以到達!




2021年開年第一天時效都是非常快的,新年新氣象,新的一年香港e特快更順更快,服務更上一層樓!
香港e特快是什么?香港e特快有什么優勢,香港e特快和其他直郵渠道有什么區別。香港e特快的DDP和DDU,香港e特快價格等等相關e特快的信息,在紅旗速運官網和公眾號都有介紹,需要了解更多詳情的,可以關注一下。
紅旗速運長期專注香港e特快,為大家提供更加專業的香港直郵服務!香港直郵進口,信賴紅旗速運!

香港直郵內地,到底能不能省掉身份證?都說“衣食住行”都靠快遞
每一只精致的包包,都是一顆心跳的聲音。你有沒有遇到過:一只心
海外購物,尤其是潮牌、化妝品、保健品,郵寄回內地總是讓人頭大
在這個全球購的時代,海外購物早已不是什么稀奇事。可對不少華人
想從國外給國內的家人朋友郵寄點保健品補補身子? 是不是頭疼怎